Zur Startseite gehen
Außengewinde schneiden: So klappt es auch bei Ihnen

Außengewinde schneiden: So klappt es auch bei Ihnen

Geschätze Lesezeit: 5 Minuten
Daniela M
08.06.2023

Außengewinde selbst schneiden kann besonders dann praktisch sein, wenn Sie mit ungewöhnlichen Abmessungen arbeiten oder ein Gewinde direkt auf einem Werkstück brauchen, wie etwa auf einem Rohr. Auf diese Weise können Sie außerdem verschmutzte oder beschädigte Außengewinde nachschneiden.

Außengewinde schneiden ist nicht schwer und kann einfach per Hand oder auch mit der Maschine erledigt werden. In diesem Blogbeitrag erklären wir, welche Ausrüstung Sie benötigen und welcher Durchmesser beim Außengewinde schneiden wichtig ist und helfen Ihnen dabei, gängige Fehler zu vermeiden.

Dieses Werkzeug brauchen Sie zum Außengewinde schneiden

Bevor es losgeht, sollten Sie sicherstellen, dass Sie die richtige Ausrüstung zum Außengewinde schneiden haben. Wichtigstes Handwerkszeug sind das Schneideisen und der Schneideisenhalter. Diese beiden Teile sehen wir uns gleich noch einmal genauer an.

Außerdem wird zum Außengewinde schneiden benötigt:

  • Der Bolzen oder Rundstab, in den das Außengewinde geschnitten werden soll
  • Eine Feile zum Anfasen des Bolzens
  • Schneidpaste oder Schneidöl als Schmiermittel, um die Reibung zu verringern
Werkzeuge für Außengewinde

Star der Show beim Außengewinde schneiden: Das Schneideisen

Ohne Schneideisen geht gar nichts beim Außengewinde schneiden. Werfen wir also zunächst einmal einen genauen Blick auf dieses Werkzeug.

Die Drawing

Das Schneideisen hat die Form eines flachen Zylinders. Im Inneren dieses Zylinders befindet sich eine Öffnung, die in ihrer Form ein wenig an eine Blumenblüte erinnert. Zum Schneiden des Außengewindes finden Sie hier Zahnstollen mit mehreren Gewindegängen – wie viele genau kommt auf die Ausführung an. Gleichmäßig darum herum verteilt – eben wie Blütenblätter – sorgen drei bis mehrere Spanlöcher dafür, dass die anfallenden Späne austreten können. Außen am Schneideisen befindet sich eine V-Nut sowie mehrere Bohrungen, die zur Befestigung dienen.

Neben dieser Standardausführung gibt es noch einige Sonderformen zum Außengewinde schneiden. Automaten-Schneideisen verfügen z. B. über zwei zusätzliche Haltelöcher. Glockenschneideisen fallen durch ihre einseitig gewölbte Form auf und die sechseckigen Schneidmuttern können mit einem normalen Ring- oder Maulschlüssel verwendet werden, weshalb Sie vor allem zum Nachschneiden und Reparieren zum Einsatz kommen.

Wichtigstes Zubehör: Schneideisenhalter und Schneideisenführung

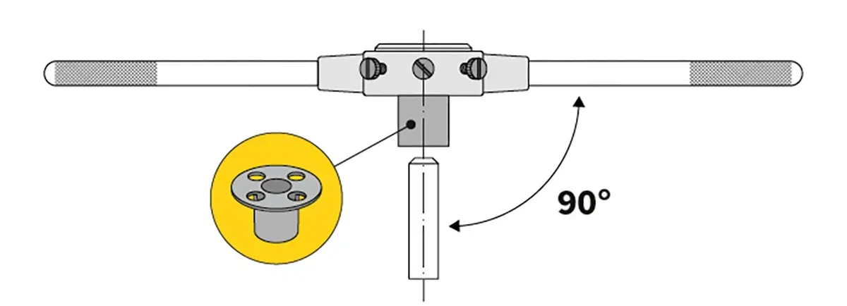
Mit dem Schneideisen allein kommen Sie beim Außengewinde schneiden nicht weit, Sie benötigen außerdem ein passendes Haltewerkzeug. Wenn Sie ein Außengewinde von Hand schneiden, dann verwenden Sie dazu einen Schneideisenhalter. Der Schneideisenhalter verfügt über einen Körper mit runder Öffnung, in die das Schneideisen eingesetzt werden kann. Mit Befestigungsschrauben, die den Bohrungen am Schneideisen entsprechen, lässt sich das Werkzeug während des Außengewinde Schneidens sicher fixieren. Lange Griffe sorgen für einen guten Halt und eine optimale Kraftübertragung.

Schneideisenhalter mit Griffen

Ein Schneideisen kann zum Außengewinde schneiden auch mit einer stationären Bohrmaschine verwendet werden. Für den maschinellen Einsatz benötigen Sie dann keinen Schneideisenhalter, sondern eine besondere Aufnahme für das Futter Ihrer Bohrmaschine. Auch hier spannen Sie das Schneideisen mit Fixierschrauben ein. Ein besonderes Maschinenschneideisen benötigen Sie für das Außengewinde schneiden übrigens nicht!

Nicht zwingend notwendig aber sehr zu empfehlen ist eine Schneideisenführung. Dieses kleine Hilfsmittel wird einfach vor dem Außengewinde schneiden in den Schneideisenhalter eingelegt und unterstützt Sie dort dabei, das Werkzeug im rechten Winkel zum Bolzen zu führen. Ganz schön praktisch!

Schneideisenfuhrung

Außengewinde schneiden: Was ist zu beachten?

Das Schneiden eines Außengewindes ist kein komplizierter Vorgang. Vor allem dann nicht, wenn Sie schon ein wenig Erfahrung beim Gewindeschneiden haben. Auf ein paar Punkte möchten wir Sie aber besonders hinweisen:

  • Bolzenvorarbeitsdurchmesser: Beim Außengewinde schneiden ist der Durchmesser des Bolzens ein wichtiger Faktor für das Gelingen des Gewindeschneidvorgangs (ähnlich wie der Kernlochdurchmesser bei Innengewinden). Dieser muss unter dem Nennmaß liegen, da das Schneideisen lediglich das Gewinde schneidet und den Bolzen nicht auf den passenden Durchmesser verkleinert. Falls Sie keinen Bolzen mit den passenden Maßen finden, können Sie ihn auf einer Drehbank auch ganz einfach selbst auf die richtige Größe bringen. Im BAER Online-Shop finden Sie eine Tabelle mit den entsprechenden Angaben.
Vorbereitungsdurchmesser
  • Alles im Lot?: Gerade beim Außengewinde schneiden von Hand kann es etwas knifflig sein, den Schneideisenhalter immer gerade zu halten. Das ist aber besonders wichtig, da nur gerade geschnittene Außengewinde so funktionieren, wie sie sollen. Nutzen Sie am besten Hilfsmittel wie eine Schneideisenführung und arbeiten Sie mit Ruhe und Sorgfalt. Auch ein Anfasen des Bolzens hilft Ihnen dabei, einen geraden Anschnitt zu erzeugen.
Werkzeuge für Außengewinde Ausrichten
  • Vorschub: Wenn Sie mit einer Maschine arbeiten, achten Sie darauf, die richtige Vorschubgeschwindigkeit einzustellen. Der Vorschub richtet sich nach der Gewindesteigung, da das Schneideisen pro Umdrehung einen Gewindegang schneiden muss.

Außengewinde schneiden leicht gemacht mit unserer Anleitung

Folgendermaßen gehen Sie vor, wenn Sie ein Außengewinde schneiden möchten:

  • 1. Bolzen auf den richtigen Durchmesser bringen und mit einer Feile anfasen.
  • 2. (Optional) Schneideisenführung in den Schneideisenhalter einlegen.
  • 3. Schneideisen in den Schneideisenhalter oder die Schneideisen-Aufnahme für die Maschine einsetzen und die Fixierschrauben festziehen.
  • 4. Schneideisen und die Schneidkanten mit Schneidpaste oder Schneidöl benetzen.
  • 5. Schneideisen behutsam auf den Bolzen drehen. Für den Anschnitt benötigen Sie etwas mehr Druck, danach wird das Schneideisen automatisch durch die bereits geschnittenen Gewindegänge geführt.
  • 6. Nachdem Sie die gewünschte Länge geschnitten haben, Schneideisen in die Gegenrichtung wieder vom Bolzen herunterdrehen.
  • 7. Fertig ist das neu geschnittene Außengewinde!
Montage von Werkzeugen mit Außengewinde

Welche Fehler können beim Außengewinde schneiden passieren und wie sind sie zu vermeiden?

Auch beim Außengewinde schneiden läuft nicht immer alles glatt. Wir zeigen Ihnen einige häufige Probleme und erklären, was die Ursachen sein können.

Ein oft auftretender Fehler ist eine unsaubere Oberfläche. Wenn Sie dies bei Ihrem Gewinde feststellen, dann sollten Sie noch einmal den Bolzenvorarbeitsdurchmesser überprüfen und darauf achten, ausreichend Schmiermittel zu verwenden. Ihr Schneideisen könnte außerdem nicht für das verwendete Material geeignet oder einfach stumpf oder verschmutzt sein.

Wenn Sie feststellen, dass Sie einen sehr hohen Kraftaufwand beim Außengewinde schneiden betreiben müssen, dann haben Sie eventuell das Schmiermittel vergessen. Verwenden Sie bei jedem Schneidvorgang etwas Schneidpaste oder Schneidöl, um die Reibung zu verringern.

Das Schneideisen verkantet und lässt sich nicht drehen? Dann halten Sie das Werkzeug wahrscheinlich nicht senkrecht zur Längsachse des Gewindes. Die Bruchgefahr für das Schneideisen ist hier besonders hoch! Denken Sie daran, den Bolzen in einem Winkel von 45° anzufassen und verwenden Sie eine Schneideisenführung.

Alles, was Sie zum Schneiden von Außengewinden brauchen, finden Sie im Online-Shop vom Gewindebohrer Hersteller BAER! Bei Fragen hilft unser Kundendienst gerne weiter.

Newsletter abonnieren

Um aktuelle Informationen zu erhalten und als Erstes von neuen Produkten zu erfahren, hinterlasse uns Deine E-Mail-Adresse.

Bitte akzeptieren Sie die Datenschutzerklärung, um sich anzumelden.